一种葡萄树的种植方法及阶梯型葡萄种植架

技术领域

本发明涉及葡萄树种植技术领域,具体为一种葡萄树的种植方法及阶梯型葡萄种 植架。

背景技术

葡萄树是一种种植最为广泛的果树之一。现有的葡萄树种植都是直接对葡萄树苗 木进行挖地栽培,这种种植方法容易造成葡萄树苗木根系生长时透气性不好,容易葡萄树 苗木死亡,且长势缓慢,影响葡萄树的发育,降低了产量。在葡萄苗木见花、坐果阶段,若不 及时修剪果穗,容易造成果实生长不充分,易变形,且成色不好,比较酸,成熟阶段晚,容易 腐烂,从而严重影响了果实产量。同时现有葡萄树在种植过程中空间利用率较低,不能在有 限的空间内实现葡萄的最大产量。

发明内容

  1. 本发明要解决的技术问题是克服现有的缺陷,提供一种葡萄树的种植方法及阶梯 型葡萄种植架,病虫害的防治可以有效抑制害虫给果树苗带来的伤害;通过将葡萄树苗种 植在阶梯型种植槽内可以使得葡萄树苗可以充分接触到阳光,同时又可以增加葡萄树的密 度,可以有效解决背景技术中的问题。
  2. 为实现上述目的,本发明提出:一种葡萄树的种植方法,包括以下步骤:
  3. S1)种植场地选择:在棚室内种植葡萄可以有效保证葡萄的生长周期,通过施用农 家肥 ,提升了营养价值和品质,葡萄的栽培场地选择应首先从照条件进行考量,葡萄是喜光 性树木,光的强弱、光照时间的长短直接影响着葡萄的生产发育,在温室培育的条件下应该 选择,地势平坦、无高大筑物遮挡、光照良好的平地上;
  4. S2)取土施肥:取地表30cm以下土壤,同时结合施入基肥,施肥时,每100kg土壤施 优质有机肥4~5kg,氮肥0 .5~0 .7kg、磷肥0 .6~0 .8kg、钾肥0 .6~0 .8kg做底肥,将肥料与 土壤混合均匀;
  5. S3)葡萄架搭设:为了提高葡萄树的种植密度,我们把葡萄树种植在阶梯状的培养 槽内;
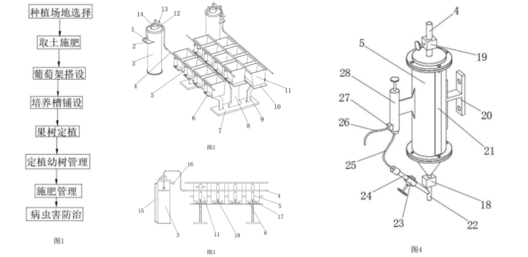
  6. S4)培养槽铺设:种植时首先将种植槽固定在种植架上,保持两个种植槽之间的高 度差为0 .4~0 .5m,同时保持两个相邻种植槽之间的水平距离为0 .5~0 .7m,然后在种植槽 的内部铺设一层有机肥;
  7. S5)果树定植:栽苗之前,首先将步骤S2中施肥后的土壤均匀的铺设到种植槽的内 部,然后种植槽的内部按株距挖好定植穴,取一年生长苗定植,定植前首先剪去苗木根系中 的伤根、烂根和过长的根,并用0 .3%的尿素水溶液将根系浸泡8~12小时 ,然后用3号生根 粉溶液浸30秒 ,浸泡处理时首先将3号生根粉配成低含量的溶液 ,然后将葡萄树苗的根部浸 泡到在调配好的溶液中,浸泡完成后,将葡萄树苗种植到挖好的定植穴内;
  8. S6)定植幼树管理:葡萄苗定植后长出7~8片新叶时 ,即可将葡萄藤绑扎到预设到的葡萄架上,当葡萄苗的新梢长到1米高时,将葡萄苗的顶梢做摘心处理,以促进葡萄苗叶 腋芽体饱满,两年生的葡萄树,距离地面50厘米范围内一般不留新梢,都要进行修剪,为了 提高葡萄的品质,每棵果树最多留有5个花序,1个果穗;
  9. S7)施肥管理:葡萄树的施肥管理可以确保葡萄健康成长,葡萄的发芽期要施加催 芽水;当葡萄发芽之后要施加尿素;在葡萄开花前要喷洒硼砂和硫酸锌;开花期间要施加农 家肥;在花期,果农可以通过使用赤霉素和足生灵来增大葡萄粒;
  10. S8)病虫害防治:按照“预防为主,综合防治”的植保方针,首先清扫果园大棚,尤其 是在修剪完成之后彻底清扫枯枝杂草,同时将葡萄苗的病枝剪除并销毁,以达到消灭病源 的目的,当需要用到化学防治时,在春季葡萄苗张新芽时用石硫合剂制作成喷洒液对苗木 进行喷。
  11. 作为本发明的一种优选方案,所述种植槽的深度选择30cm~50cm,在种植槽的外 侧面上端设置用于滴罐的喷管。
  12. 作为本发明的一种优选方案,所述铺设在种植槽底部的有机肥需充分腐熟,达到 规定的卫生标准。
  13. 作为本发明的一种优选方案,所述在定植幼树管理时,冬季也需要对葡萄实施修 剪,直径小于1厘米的树梢直接剪掉 ,直径1厘米以下的树梢保留50厘米即可。
  14. 作为本发明的一种优选方案,所述在果树定植过程中,由于葡萄树苗木栽完后,其 地下根系恢复很慢,不能及时吸收足够的水分和养分以供给苗木生长的需要,可适当浇灌 生长素溶液,采用吲哚乙酸与水质量比为1:50进行溶液调配,调配完成后将生长素浇灌到 葡萄树木苗的根部。
  15. 一种阶梯型葡萄种植架,包括储液罐、底座和种植槽,其特征在于:所述底座的上 表面设有第一支撑架和第二支撑架,第一支撑架和第二支撑架的上表面均设有种植槽,所 述种植槽呈阶梯状分布,种植槽的外侧面设有分液罐,分液罐的外侧面下端通过连接管连 接有U型导液管,U型导液管的出液口设置在种植槽的内侧面,连接管上设有第二电磁阀,所 述储液罐通过设置在其外侧面的气泵支架连接有增压气泵,增压气泵的出气口通过导管与 储液罐的上端面相连,储液罐的上端面设有液泵,液泵的进液口延伸至储液罐的内部,液泵 的出液口通过分流管与分液罐的进液口相连,储液罐的上端面设有加液管,加液管上设有 第一电磁阀,所述分液罐由上端盖、柱形筒体和锥形导管组成,上端盖和锥形导管分别设置 在柱形筒体外侧面上、下两端,上端盖的外侧面与分流管的连接处设有第一球形阀门,所述 第二电磁阀设置在锥形导管的外侧面中部,分液罐通过设置在其外侧面的固定连接有注射 器,锥形导管的外侧面下端设有注入管,注入管上设有第二球形阀门,注入管的上端面通过 第一软管与注射器的下端面相连,第一软管上设有第二单向阀,增压气泵、第一电磁阀、液 泵和第二电磁阀的输入端均通过外部控制开关与外部电源的输出端电连接。
  16. 作为本发明的一种优选方案,所述第一支撑架设置在底座的上表面中部,第二支 撑架的数量为两个,两个第二支撑架关于第一支撑架对称设置。
  17. 作为本发明的一种优选方案,所述储液罐的外侧面设有磁翻板液位计和气压表, 气压表设置在储液罐的外侧面上端。
  18. 作为本发明的一种优选方案,所述分液罐的外侧面通过安装架与种植槽的外侧面 相连,分液罐的外侧面中部设有液位观察窗。
  19. 作为本发明的一种优选方案,述注射器的外侧面下端设有第二软管,第二软管上 设有第一单向阀。
  20. 与现有技术相比,本发明的有益效果是:本葡萄树的生态栽培方法,操作简单,成 本低廉,适合不同经验的农民进行葡萄树种植;可以运用预防为主,综合防治的方法对果树 的病虫害的防治,从而有效抑制害虫给葡萄树带来的伤害;采用阶梯状种植的苗木可以有 效提高空间利用率;通过分液罐可以实现营养液与水的定量浇灌,磁翻板液位计的设置方 便了储液罐中液位高度的观察,阶梯状分布的种植槽可以有效提高葡萄的种植。

附图说明

附图
图1为本发明的流程图 图2为阶梯型葡萄种植架结构示意图 图3为阶梯型葡萄种植架主视图 图4为分液罐结构示意图 图5为分液罐主视图 图中:1增压气泵、2气泵支架、3储液罐、4分流管、5分液罐、6U型导液管、7底座、8第 一支撑架、9第二支撑架、10托板、11种植槽、12第一电磁阀、13加液管、14液泵、15磁翻板液 位计、16气压表、17连接管、18第二电磁阀、19第一球形阀门、20安装架、21液位观察窗、22锥 形导管、23第二球形阀门、24注入管、25第一软管、26第二软管、27第一单向阀、28注射器、29 第二单向阀、30上端盖、31注射器支架。

具体实施方式

  1. 下面将结合本发明实施例中的附图1-3,对本发明实施例中的技术方案进行清楚、 完整地描述,显然,所描述的实施例仅仅是本发明一部分实施例,而不是全部的实施例。基 于本发明中的实施例,本领域普通技术人员在没有做出创造性劳动前提下所获得的所有其 他实施例,都属于本发明保护的范围。
  2. 请参阅图1-5,本发明提供以下技术方案:一种葡萄树的种植方法,包括以下步骤:
  3. S1)种植场地选择:在棚室内种植葡萄可以有效保证葡萄的生长周期,通过施用农 家肥 ,提升了营养价值和品质,同时 ,棚室栽培有效地抵御了各种自然灾害 ,使葡萄果实的 品质得到了改善和提高,葡萄的栽培场地选择应首先从照条件进行考量,葡萄是喜光性树 木,光的强弱、光照时间的长短直接影响着葡萄的生产发育,在温室培育的条件下应该选 择,地势平坦、无高大筑物遮挡、光照良好的平地上;
  4. S2)取土施肥:取地表30cm以下土壤,同时结合施入基肥,施肥时,每100kg土壤施 优质有机肥4~5kg,氮肥0 .5~0 .7kg、磷肥0 .6~0 .8kg、钾肥0 .6~0 .8kg做底肥,将肥料与 土壤混合均匀;
  5. S3)葡萄架搭设:为了提高葡萄树的种植密度,我们把葡萄树种植在阶梯状的培养 槽内,这样既保证了葡萄树的密度,又使得葡萄树苗可以充分接触到阳光,同时,又方便了 果苗的灌溉与管理;
  6. S4)培养槽铺设:种植时首先将种植槽固定在种植架上,保持两个种植槽之间的高 度差为0 .4~0 .5m,同时保持两个相邻种植槽之间的水平距离为0 .5~0 .7m,然后在种植槽 的内部铺设一层有机肥;
  7. S5)果树定植:栽苗之前,首先将步骤S2中施肥后的土壤均匀的铺设到种植槽的内 部,然后种植槽的内部按株距挖好定植穴,取一年生长苗定植,定植前首先剪去苗木根系中 的伤根、烂根和过长的根,并用0 .3%的尿素水溶液将根系浸泡8~12小时 ,然后用3号生根 粉溶液浸30秒立即定植 ,浸泡处理时首先将3号生根粉配成低含量的溶液 ,然后将葡萄树苗 的根部浸泡到在调配好的溶液中,浸泡完成后,将葡萄树苗种植到挖好的定植穴内;
  8. S6)定植幼树管理:葡萄苗定植后长出7~8片新叶时 ,即可将葡萄藤绑扎到预设到 的葡萄架上,当葡萄苗的新梢长到1米高时,将葡萄苗的顶梢做摘心处理,以促进葡萄苗叶 腋芽体饱满,两年生的葡萄树,距离地面50厘米范围内一般不留新梢,都要进行修剪,为了 提高葡萄的品质,每棵果树最多留有5个花序,1个果穗 ,这样结出来的葡萄果粒才会饱满有 营养,葡萄品质才可得以保障;
  9. S7)施肥管理:葡萄树的施肥管理可以确保葡萄健康成长,也是葡萄高产的必要条 件,施肥管理可以分为水肥的施加和基肥的施加,水肥的施加葡萄在不同的生长时期要施 加不同的肥料,葡萄的发芽期要施加催芽水;当葡萄发芽之后要施加尿素;在葡萄开花前要 喷洒硼砂和硫酸锌;开花期间要施加农家肥;在花期,果农可以通过使用赤霉素和足生灵来 增大葡萄粒;
  10. S8)病虫害防治:按照“预防为主,综合防治”的植保方针,首先清扫果园大棚,尤其 是在修剪完成之后彻底清扫枯枝杂草,同时将葡萄苗的病枝剪除并销毁,以达到消灭病源 的目的,当需要用到化学防治时,在春季葡萄苗张新芽时用石硫合剂制作成喷洒液对苗木 进行喷;所述种植槽的深度选择30cm~50cm,在种植槽的外侧面上端设置用于滴罐的喷管, 所述铺设在种植槽底部的有机肥需充分腐熟,达到规定的卫生标准,冬季也需要对葡萄实 施修剪,直径小于1厘米的树梢直接剪掉 ,直径1厘米以下的树梢保留50厘米即可,所述葡萄 果实进入成熟期时,需要每隔2-3天对葡萄苗进行浇灌,以削弱蒸腾现象,所述葡萄树苗栽 植完成后,需要立即对果树苗木进行灌溉,刚种植的葡萄树苗的树叶会有轻度萎蔫症状,此 时可采用喷雾器和喷枪,直接向果树木冠上方喷射,让水滴落在枝叶上,每天喷2~3次,葡 萄树苗木栽完后,其地下根系恢复很慢,不能及时吸收足够的水分和养分以供给苗木生长 的需要,可适当浇灌生长素溶液,采用吲哚乙酸与水质量比为1:50进行溶液调配,调配完成 后将生长素浇灌到葡萄树木苗的根部,当葡萄果实成型后需要对果实进行套袋处理,套袋 可以减去粉尘污染 ,不仅能够防止鸟、虫的侵害,还能控制均匀着色 ,保持果粉的完整性,提 高葡萄品质,本葡萄树的生态栽培方法,操作简单,成本低廉,适合不同经验的农民进行葡 萄树种植;可以运用预防为主,综合防治的方法对果树的病虫害的防治,从而有效抑制害虫 给葡萄树带来的伤害;采用阶梯状种植的苗木可以有效提高空间利用率。
  11. 一种阶梯型葡萄种植架,包括储液罐3、底座7和种植槽11,所述底座7的上表面设 有第一支撑架8和第二支撑架9,第一支撑架8和第二支撑架9的上表面均设有种植槽11,所 述种植槽11呈阶梯状分布,阶梯状分布的种植槽11使得葡萄树苗可以充分的接触到阳光, 种植槽11的外侧面设有分液罐5,分液罐5的外侧面下端通过连接管17连接有U型导液管6,U 型导液管6的出液口设置在种植槽11的内侧面,连接管17上设有第二电磁阀18,所述储液罐 3通过设置在其外侧面的气泵支架2连接有增压气泵1,增压气泵1的出气口通过导管与储液 罐3的上端面相连,储液罐3的上端面设有液泵14,液泵14的进液口延伸至储液罐3的内部, 液泵14的出液口通过分流管4与分液罐5的进液口相连,储液罐3的上端面设有加液管13,加 液管13上设有第一电磁阀12,分液罐5由上端盖30、柱形筒体和锥形导管22组成,上端盖30 和锥形导管22分别设置在柱形筒体外侧面上、下两端,上端盖30的外侧面与分流管4的连接 处设有第一球形阀门19,所述第二电磁阀18设置在锥形导管22的外侧面中部,分液罐5通过 设置在其外侧面的31固定连接有注射器28,锥形导管22的外侧面下端设有注入管24,注入 管24上设有第二球形阀门23,注入管24的上端面通过第一软管25与注射器28的下端面相 连,第一软管25上设有第二单向阀29,分液罐5的外侧面通过安装架20与种植槽11的外侧面 相连,分液罐5的外侧面中部设有液位观察窗21,注射器28的外侧面下端设有第二软管26, 第二软管26上设有第一单向阀27,增压气泵1、第一电磁阀12、液泵14和第二电磁阀18的输 入端均通过外部控制开关与外部电源的输出端电连接,第一支撑架8设置在底座7的上表面 中部,第二支撑架9的数量为两个,两个第二支撑架9关于第一支撑架8对称设置,储液罐3的 外侧面设有磁翻板液位计15和气压表16,气压表16设置在储液罐3的外侧面上端,通过气压 表16可以判断储液罐3内气压的大小,通过分液罐5可以实现营养液与水的定量浇灌,磁翻 板液位计15的设置方便了储液罐3中液位高度的观察,阶梯状分布的种植槽11可以有效提 高葡萄的种植。
  12. 尽管已经示出和描述了本发明的实施例,对于本领域的普通技术人员而言,可以 理解在不脱离本发明的原理和精神的情况下可以对这些实施例进行多种变化、修改、替换 和变型,本发明的范围由所附权利要求及其等同物限定。