带有制氧装置的植物种植气流循环系统

技术领域

本发明涉及机械制造技术领域,尤其涉及一种带有制氧装置的植物种植气流循环 系统。

背景技术

在植物种植产业中,大多数的种植棚都是封闭的,而且没有相应的换气通风机制。 一般都是采用人为操作,通过对种植棚进行改造来达到换气目的。带有制氧装置的植物种 植气流循环系统是让氧气可以作为一种循环机制来工作可以充分发挥系统在种植棚内部 的作用。由于每个种植棚都配备一个抽氧泵,并且每个种植棚与输氧管道之间都是并联连 接,此外可以并联多个种植棚,所以维护起来比较容易。

发明内容

  1. 本发明的目的是提供一种带有制氧装置的植物种植气流循环系统。
  2. 本发明的技术方案为 :一种带有制氧装置的植物种植气流循环系统,其特征在于 : 由制氧机、电控箱、储氧容器、若干个种植棚和空气过滤器组成,所述电控箱位于制氧机的 一侧,所述电控箱与制氧机为固定连接,所述储氧容器位于制氧机的一侧,所述储氧容器上 还设有氧气输送管和氧气输送管组,所述氧气输送管的一端通过储氧容器为固定连接,所 述氧气输送管的另一端通过制氧机为固定连接,所述氧气输送管组上还设有若干个抽氧 泵,任意所述抽氧泵位于氧气输送管组的分支管道上,所述抽氧泵与氧气输送管组为固定 连接,任意所述种植棚位于储氧容器的上部,所述氧气输送管组的一端均通过种植棚为固 定连接,所述氧气输送管组的另一端通过储氧容器为固定连接,所述空气过滤器位于储氧 容器的一侧,所述空气过滤器上还设有抽气管组和气体输送管,所述抽气管组的一端通过 空气过滤器为固定连接,所述抽气管组的另一端均通过种植棚为固定连接,所述气体输送 管的一端通过空气过滤器为固定连接,所述气体输送管的另一端通过制氧机为固定连接。
  3. 进一步,所述抽气管组的材质为塑料。
  4. 本发明的有益效果在于 :系统在工作时,工作人员可以打开种植棚所对应的抽氧 泵,氧气便会从氧气输送管组中进入种植棚中进行输氧工作。与此同时,连接于种植棚上的 抽气管组会将种植棚中的空气抽走,进入空气过滤器中进行过滤,待过滤好的空气会从气 体输送管流回制氧机中,让氧气可以作为一种循环机制来工作可以充分发挥系统在种植棚 内部的作用。由于每个种植棚都配备一个抽氧泵,并且每个种植棚与输氧管道之间都是并 联连接,此外可以并联多个种植棚,所以维护起来比较容易。

附图说明

附图
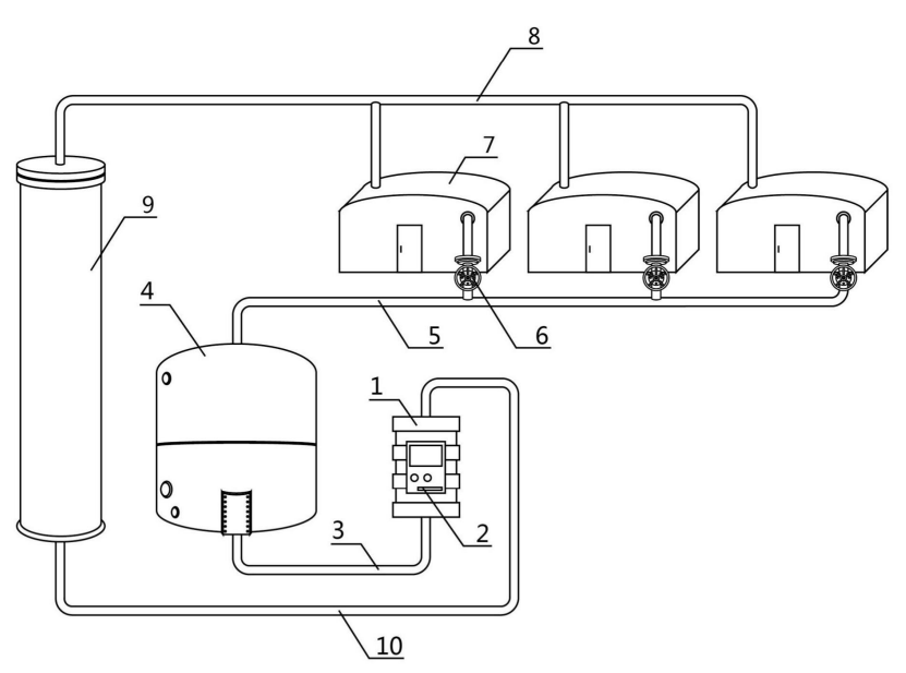
图 1 为本发明的主视图。 其中 :1、制氧机 2、电控箱 3、氧气输送管 4、储氧容器 5、氧气输送管组 6、抽氧泵 7、种植棚 8、抽气管组 9、空气过滤器 10、气体输送管

具体实施方式

  1. 下面结合附图对本发明的具体实施方式做出简要说明。
  2. 如图 1 所示一种带有制氧装置的植物种植气流循环系统,其特征在于 :由制氧机 1、电控箱 2、储氧容器 4、若干个种植棚 7 和空气过滤器 9 组成,所述电控箱 2 位于制氧机 1 的一侧,所述电控箱 2 与制氧机 1 为固定连接,所述储氧容器 4 位于制氧机 1 的一侧,所述 储氧容器 4 上还设有氧气输送管 3 和氧气输送管组 5,所述氧气输送管 3 的一端通过储氧容 器 4 为固定连接,所述氧气输送管 3 的另一端通过制氧机 1 为固定连接,所述氧气输送管组 5 上还设有若干个抽氧泵 6,任意所述抽氧泵 6 位于氧气输送管组 5 的分支管道上,所述抽 氧泵 6 与氧气输送管组 5 为固定连接,任意所述种植棚 7 位于储氧容器 4 的上部,所述氧气 输送管组 5 的一端均通过种植棚 7 为固定连接,所述氧气输送管组 5 的另一端通过储氧容 器 4 为固定连接,所述空气过滤器 9 位于储氧容器 4 的一侧,所述空气过滤器 9 上还设有抽 气管组 8 和气体输送管 10,所述抽气管组 8 的一端通过空气过滤器 9 为固定连接,所述抽气 管组 8 的另一端均通过种植棚 7 为固定连接,所述气体输送管 10 的一端通过空气过滤器 9 为固定连接,所述气体输送管 10 的另一端通过制氧机 1 为固定连接。所述氧气输送管组 5 的材质为塑料。所述抽气管组 8 的材质为塑料。
  3. 工作方式 :系统在工作时,打开电控箱 2 上的控制按钮,此时制氧机 1 会开始工作 并运转,把从空气中提取的氧气通过氧气输送管 3 进入储氧容器 4 中进行进一步加压,并把 氧气送入氧气输送管组5中,此时,工作人员可以打开种植棚7所对应的抽氧泵6,氧气便会 从氧气输送管组 5 中进入种植棚 7 中进行输氧工作。与此同时,连接于种植棚 7 上的抽气 管组 8 会将种植棚 7 中的空气抽走,进入空气过滤器 9 中进行过滤,待过滤好的空气会从气 体输送管 10 流回制氧机 1 中。让氧气可以作为一种循环机制来工作。
  4. 以上对本发明的一个实施例进行了详细说明,但所述内容仅为本发明的较佳实施 例,不能被认为用于限定本发明的实施范围。凡依本发明申请范围所作的均等变化与改进 等,均应仍归属于本发明的专利涵盖范围之内。